
Google'dan Enteresan Bir Patent; Akıllı Şapka
Google'dan Enteresan Bir Patent; Akıllı Şapka
Google, akıllı gözlüğü Google Glass'ın ardından şansını bu kez de şapka ile deneyecek.
Google, giyilebilir teknoloji konusunda enteresan bir adım atmaya hazırlanıyor. GoPro tarzı aksiyon kameralarını kafamızın üstüne bir aparat ile takarak gördüklerimizi kaydetmemiz mümkün. İşte Google da buna benzer bir şeyi, yeni şapkası ile yapma amacında.
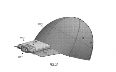
Uç kısmında kamera bulunacak bir şapka geliştirmek için patent alan Google, kullanıcıların bu kamera sayesinde fotoğraflar, videolar çekip sosyal medya platformlarına yüklemelerini sağlayacak. Ayrıca kamera, kullanıcılara yine sosyal medya platformları üzerinden canlı yayın imkanı da sunacak.
Ayrıca ses dalgalarını iletecek özel bir höparlörün de bulunacağı şapka, mikrofon ile ses kaydı yapılmasına da olanak sağlayacak.
Tabi Google'ın yeni şapkasına dair farklı planları da mevcut. Örneğin acil görsel ve konum paylaşımının da bulunacağı şapka, acil durumlarda kullanıcının işine fazlasıyla yarayabilir. Fakat, Google Glass'ta istediği başarıyı elde edemeyen Google, muhtemelen aynı şeyi bu şapkada da yaşayacaktır. Bunun nedeni ise ürünün estetik açıdan hiçbir albenisinin olmaması.
http://www.webtekno.com/google-dan-enteresan-bir-patent-akilli-sapka-h26090.html
Değerli okuyucumuz,
Yazdığınız yorumlar editör denetiminden sonra onaylanır ve sitede yayınlanır.
Yorum yazarken aşağıda maddeler halinde belirtilmiş hususları okumuş, anlamış, kabul etmiş sayılırsınız.
· Türkiye Cumhuriyeti kanunlarında açıkça suç olarak belirtilmiş konular için suçu ya da suçluyu övücü ifadeler kullanılamayağını,
· Kişi ya da kurumlar için eleştiri sınırları ötesinde küçük düşürücü ifadeler kullanılamayacağını,
· Kişi ya da kurumlara karşı tehdit, saldırı ya da tahkir içerikli ifadeler kullanılamayacağını,
· Kişi veya kurumların telif haklarına konu olan fikir ve/veya sanat eserlerine ait hiçbir içerik yayınlanamayacağını,
· Kişi veya kurumların ticari sırlarının ifşaı edilemeyeceğini,
· Genel ahlaka aykırı söz, ifade ya da yakıştırmaların yapılamayacağını,
· Yasal bir takip durumda, yorum tarih ve saati ile yorumu yazdığım cihaza ait IP numarasının adli makamlara iletileceğini,
· Yorumumdan kaynaklanan her türlü hukuki sorumluluğun tarafıma ait olduğunu,
Bu formu gönderdiğimde kabul ediyorum.
Oktan Keleş
Emir Yıldızdan
Tarık C.
Baran Aydın
Orkun Akar
Ozan Aydın
Dr. Özlem Genç
Dr. Hamdi Cenk Düzgit
Y. Murat YİĞİT
Ogün Emir Yayla
Yorumlar
+ Yorum Ekle